
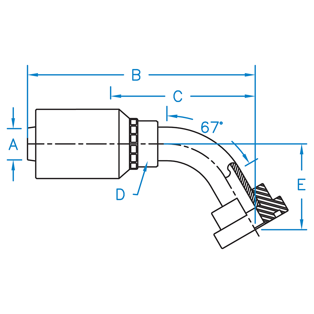
| Image | SKU | A | B | C | D | E | F | Details |
|---|---|---|---|---|---|---|---|---|
| C6267-20-20-JJ | 1-1/4 | 6.19 | 3.59 | 1-3/4 | 2.53 | Show details | ||
| C6267-24-24-JJ | 1-1/2 | 6.99 | 4.28 | 2-1/8 | 2.91 | Show details | ||
| C6267-24-32-JJ | 1-1/2 | 6.82 | 4.17 | 2-1/8 | 2.80 | Show details | ||
| C6267-32-32-JJ | 2 | - | - | 2-3/4 | - | Show details |
Sign up to receive our Kurt newsletter to be the first to learn all about our latest innovations, industry trends, company highlights, and new product launches.